宗馥莉辞职!原因曝光

红星资本局10月11日消息,红星资本局10日晚间从知情人士处获悉,宗馥莉已于9月12日向娃哈哈集团有限公司辞去公司法定代表人、董事及董事长等相关职务并已通过集团股东会和董事会的...

红星资本局10月11日消息,红星资本局10日晚间从知情人士处获悉 ,宗馥莉已于9月12日向娃哈哈集团有限公司辞去公司法定代表人 、董事及董事长等相关职务并已通过集团股东会和董事会的相关程序 。

工商登记信息显示,目前,宗馥莉仍为娃哈哈集团第二大股东。

宗馥莉辞任娃哈哈集团董事长

离职原因或与“娃小宗”有关

据媒体报道 ,一名消息人士表示,宗馥莉此次辞职,是因为商标使用“不合规 ” ,宗馥莉决定经营自己的品牌“娃小宗”。

此前,一份《关于开展2026销售年度经销商沟通工作的通知》显示,自娃哈哈集团创始人离世后 ,公司一直努力推进解决各项历史相关遗留问题 ,为维护“娃哈哈”品牌使用的合规性,公司决定从2026年新的销售年度起,更换使用新品牌“娃小宗 ” 。

宗馥莉辞职!原因曝光

上述通知也给出了更换品牌的深层原因 ,“因复杂的历史相关问题不能在近期得到有效地解决,导致公司经营始终暴露在相关法律风险之下。因此,我们不得不做出以上的安排 ,在现行股权架构下,‘娃哈哈’商标的使用,须获得娃哈哈集团全体股东的一致同意 ,否则任何一方均无权使用。”

宗馥莉辞职!原因曝光

上述通知的日期为9月12日,落款企业一共7家,均是由宗馥莉实际控制的“宏胜系” ,包括杭州娃哈哈宏辉食品饮料有限公司、浙江娃哈哈食品饮料营销有限公司、杭州宏胜营销有限公司 、拉萨宏胜营销有限公司、杭州恒泽食品饮料有限公司等 。

信息显示,“娃小宗 ”的商标目前归宏胜集团所有,商标申请日期显示为2025年5月。

官网资料显示 ,宏胜集团有限公司成立于2003年 ,最初为娃哈哈的代工厂。公司以饮料为主业,同时经营饮料上游产业链配料生产、高端装备制造 、印刷包装,提供饮料生产全产业链解决方案 。 信息显示 ,宏胜集团已为“娃小宗”注册了涵盖食品、啤酒饮料、方便食品等多个品类的商标 。

宏胜集团是恒枫贸易有限公司的全资子公司,祝丽丹为法定代表人和总经理,宗馥莉担任董事。

工商登记信息显示 ,目前,娃哈哈股权呈现出三方制衡的格局:杭州市上城区文商旅投资控股集团有限公司(国资)持股46%,宗馥莉继承宗庆后 ,个人持股29.4%,基层工会(职工持股会)持有24.6%。

宗馥莉辞职!原因曝光

据悉,因各项历史相关遗留问题 ,在现行股权架构下,“娃哈哈”商标的使用,须获得娃哈哈集团全体股东的一致同意 ,否则任何一方均无权使用 。因此 ,宗馥莉可能面临无法继续使用“娃哈哈 ”商标的情况。

9月24日,还有媒体报道称,娃哈哈内部一名知情人士表示 ,上海娃哈哈饮用水因娃哈哈品牌到期而不能继续使用娃哈哈这个品牌,只好另起炉灶。

有分析认为,宗馥莉放弃娃哈哈集团治理权 ,可彻底摆脱第一大股东与原有体系的制约,全力运作自有品牌“娃小宗 ” 。该品牌归属宏胜旗下,无需受制于娃哈哈集团股东会 ,相当于为她掌控的关联企业开辟了“独立战场”,其此前推动的人事改革 、数字化布局,或已为新品牌铺路。

娃哈哈旗下公司接连更名

9月以来已有3家变身“宏胜系”

值得关注的是 ,近期娃哈哈旗下多家公司接连更名,9月以来已有三家企业更名为“宏胜系 ”:

9月2日,南阳娃哈哈昌盛饮料有限公司更名为南阳宏胜恒枫饮料有限公司;9月5日 ,山西娃哈哈昌盛饮料有限公司更名为山西宏胜饮料有限公司;9月8日 ,虎林娃哈哈饮料有限公司更名为虎林市宏胜饮料有限公司。

目前,娃哈哈旗下变更为“宏胜”系相关品牌的企业,还包括重庆娃哈哈昌盛饮料有限公司 、贵阳娃哈哈昌盛饮料有限公司、成都娃哈哈昌盛饮料有限公司、巢湖娃哈哈昌盛饮料有限公司 、白山娃哈哈饮料有限公司等 。

娃小宗开通微博账号 ,认证主体为宏胜集团

今年已申请数十个“娃小宗”商标

红星资本局10月11日消息,红星资本局发现,娃小宗已在微博平台注册账号 ,账号认证主体为宏胜饮料集团有限公司(下称“宏胜集团 ”)。截至发稿,该账号已有466个粉丝。

宗馥莉辞职!原因曝光

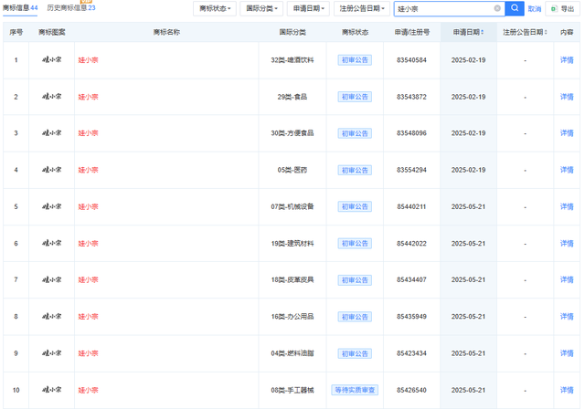
红星资本局通过天眼查App注意到,今年以来 ,宏胜集团已申请数十个“娃小宗”相关商标,国际分类包括啤酒饮料、食品、方便食品和医药等,部分商标已通过初审 ,部分商标还在等待实质审查 。

宗馥莉辞职!原因曝光

资料显示,宗馥莉1982年1月出生于浙江杭州,为杭州娃哈哈集团创始人宗庆后之女。2018年4月 ,宗馥莉担任娃哈哈集团品牌公关部部长 ,2020年3月起兼任娃哈哈集团销售公司副总经理,2021年担任娃哈哈集团副董事长兼总经理。

宗馥莉辞职!原因曝光

宗馥莉,图片来源:视觉中国

2024年8月 ,娃哈哈集团发生工商变更,宗馥莉接替去世的宗庆后,出任娃哈哈法定代表人 、董事长 ,继续兼任总经理 。

据红星资本局此前报道,2024年7月18日,有网传图片显示 ,因部分股东对宗馥莉管理娃哈哈集团的合理性提出质疑,宗馥莉决定自7月15日起辞去娃哈哈集团的副董事长、总经理职务,不再参与经营管理 。2024年7月22日 ,娃哈哈官网发布消息称,宗馥莉继续履职。

此外,作为娃哈哈创始人之女 ,由于身陷百亿遗产纠纷 ,近期宗馥莉的消息不断。

来源:红星新闻综合红星资本局、第一财经 、澎湃新闻、每日经济新闻、界面新闻 、上海证券报

本文来自作者[花中漫步]投稿,不代表视听号立场,如若转载,请注明出处:https://m.stddy.com/cskp/202510-51693.html

(2)

文章推荐

  • 【山东:本轮疫情发展快,山东疫情爆发】

    山东哪疫情最严重〖壹〗、济南。通过查询山东疫情消息了解到,山东疫情最严重的城市是济南。2022年12月4日山东省新增确诊病例23例,新增无症状感染病例623例,从数据来看,疫情最严重的是济南市,是山东的重灾区。〖贰〗、山东省潍坊市疫情最严重。通过查询相关资料显示,截止于2022年12月5日,山东新

    2025年06月20日
    83
  • 【31省昨增1217例确诊,31省昨日新增1例本】

    9月25日起澳门离境人员须持48小时内核酸证明〖壹〗、澳门特区政府还宣布,从25日0时起,所有离境澳门的人士须持48小时内核酸检测阴性结果证明,并呼吁民众如非必要,不离境。此外,澳门所有核酸检测站将24小时运作,社会工作局的临时收容中心也将开放提供服务。据澳门新冠病毒感染应变协调中心介绍,9月24

    2025年06月23日
    90
  • 山东新增无症状感染者13例(山东无症状感染者轨迹)

    山东菏泽疫情怎么样了?〖壹〗、菏泽疫情全面解封的时间是2023年5月5日。随着疫情形势的好转,菏泽市政府根据疫情防控需要和专家评估结果,决定自2023年5月5日起全面解封。在全面解封前,菏泽市采取了严格的防控措施,包括限制人员流动、加强社区管理、提高检测能力等,有效控制了疫情的传播。全面解封

    2025年07月09日
    73
  • 我来教大家“打哈儿麻将铺牌器(助赢神器通用版)

    超绝软件神器!微乐甘肃麻将自建房怎么提高胜率(好友房怎么才能赢)“我们专注于各类软件定制开发,已成功研发高效实用的软件系统。软件定制开发服务用获取专业解决方案。”微乐甘肃麻将自建房怎么提高胜率是一款可以让一直输的玩家,快速成为一个“必胜”的ai

    2025年09月12日
    28
  • 实测教程“兴动互娱辅助器下载(专用辅牌神器免安装)

    神器实力强劲!小程序微乐麻将系统出牌规律(怎么才能起到好牌)“我们专注于各类软件定制开发,已成功研发高效实用的软件系统。软件定制开发服务用获取专业解决方案。”小程序微乐麻将系统出牌规律是一款可以让一直输的玩家,快速成为一个“必胜”的ai辅助神器

    2025年09月19日
    27
  • 实测辅助“普通麻将机免安装感应器”(详细透视教程)-今日头条

    超酷软件神器!财神十三张小程序赢分攻略(怎么打系统才能给好牌)“我们专注于各类软件定制开发,已成功研发高效实用的软件系统。软件定制开发服务用获取专业解决方案。”财神十三张小程序赢分攻略是一款可以让一直输的玩家,快速成为一个“必胜”的ai辅助神器

    2025年09月24日
    19
  • 胜率设置方法“麻将机解码器的使用方法(专用辅牌神器免安装)

    软件神器爆赞!打皮皮麻将一定会输吗(怎么设置才能赢)“我们专注于各类软件定制开发,已成功研发高效实用的软件系统。软件定制开发服务用获取专业解决方案。”打皮皮麻将一定会输吗是一款可以让一直输的玩家,快速成为一个“必胜”的ai辅助神器,有需要的用户

    2025年09月24日
    20
  • 玩家必看攻略“微信斗牛黑科技”(详细透视教程)-今日头条

    软件神器称王!中至麻将确实有猫腻(控牌神器)“我们专注于各类软件定制开发,已成功研发高效实用的软件系统。软件定制开发服务用获取专业解决方案。”中至麻将确实有猫腻是一款可以让一直输的玩家,快速成为一个“必胜”的ai辅助神器,有需要的用户可以加微下

    2025年10月02日
    9
  • 实测辅助“雀神麻将辅牌器(助赢神器通用版)

    软件神器妙绝!顺欣茶楼其实是有挂的(发牌有什么规律吗)“我们专注于各类软件定制开发,已成功研发高效实用的软件系统。软件定制开发服务用获取专业解决方案。”顺欣茶楼其实是有挂的是一款可以让一直输的玩家,快速成为一个“必胜”的ai辅助神器,有需要的用

    2025年10月09日
    10
  • 实测分享“最先进的程序手机智能麻将机(助赢神器通用版)

    软件神器揭秘!微信打麻将可以作假吗(辅牌器插件购买)“我们专注于各类软件定制开发,已成功研发高效实用的软件系统。软件定制开发服务用获取专业解决方案。”微信打麻将可以作假吗是一款可以让一直输的玩家,快速成为一个“必胜”的ai辅助神器,有需要的用户

    2025年10月10日
    5

发表回复

本站作者后才能评论

评论列表(4条)

  • 花中漫步
    花中漫步 2025年10月11日

    我是视听号的签约作者“花中漫步”!

  • 花中漫步
    花中漫步 2025年10月11日

    希望本篇文章《宗馥莉辞职!原因曝光》能对你有所帮助!

  • 花中漫步
    花中漫步 2025年10月11日

    本站[视听号]内容主要涵盖:国足,欧洲杯,世界杯,篮球,欧冠,亚冠,英超,足球,综合体育

  • 花中漫步
    花中漫步 2025年10月11日

    本文概览:红星资本局10月11日消息,红星资本局10日晚间从知情人士处获悉,宗馥莉已于9月12日向娃哈哈集团有限公司辞去公司法定代表人、董事及董事长等相关职务并已通过集团股东会和董事会的...

    联系我们

    邮件:视听号@sina.com

    工作时间:周一至周五,9:30-18:30,节假日休息

    关注我们